
Por Ricardo Costa Val do Rosário auxiliado por ChatGPT 2.0 Plus e Microsoft CoPilot 365
1 - Contextualização
# 1.1 - Conflitos de Dados
Em computação, conflito de merge é quando duas pessoas alteram a mesma linha
e o sistema
não consegue decidir sozinho. Especificamente no prontuário, conflito é quando duas (ou mais)
fontes “alteram a mesma realidade clínica”, inserindo dados relacionadas ao paciente, sendo
exemplos:
1. Avaliação clínica e condutas tomadas (todas),
2. Passado cirúrgico, alergias e eventos clínicos pregressos
3. Condições sociais, profissionais e hábitos de vida de interesse
# 1.2 - Origem dos Dados e Atores envolvidos
Inúmeros são os atores que lidam com a assistência à saúde, que por sua vez são
os responsáveis pelas informações alimentadas ao prontuário clínico do paciente,
conforme regras das diiversas profissões, sendo as tradicionais:
1. Medicina
2. Enfermagem
3. Fisioterapia
4. Nutrição
5. Terapia Ocupacional
6. Psicologia
7. Assistência Social
# Classificação dos Dados
Podem ser classificados em 03 grupos, conforme a prioridade dos eventos,
a saber:
1. Não urgência (dia a dia)
2. Urgência (representa ameaça a vida humana nas próximas 24 a 72 horas)
3. Emergência (representa ameaça a vida humana nas próximas 24 horas)
# 1.3 - Autonomia das Profissões
- A pluralidade de fontes e tipos de dados é tanto uma riqueza quanto um desafio,
exigindo sistemas capazes de reconhecer e resolver conflitos sem comprometer
a integridade do cuidado.
- A ausência de hierarquia entre profissões no registro clínico é um convite à
colaboração genuína, onde o valor de cada informação é determinado pelo contexto
e pela necessidade do paciente.
# 1.4 - Governança e Gestão
A governança e a rastreabilidade são pilares essenciais para garantir que cada
decisão clínica seja fundamentada, auditável e contextualizada, promovendo um
ambiente seguro e confiável para a assistência médica inteligente.
Essa ideia conversa diretamente com:
1. “conflito gerado ao tentar unir alterações” e necessidade de resolver e comitar a
resolução
2. recomendação de análise criteriosa linha por linha (na Saúde: campo por campo /
evidência por evidência)
3. o papel do Pull Request + code review antes de integrar na main (na Saúde: revisão
multiprofissional e validação antes de “virar verdade operacional”)
# 1.5 - Escopo deste Projeto
O foco deste projeto não é padronizar todo o sistema de dados, mas construir
um arcabouço técnico-operacional capaz de detectar, classificar, armazenar e resolver
conflitos de informação, preservando a autonomia multiprofissional e garantindo
governança, rastreabilidade e integridade.
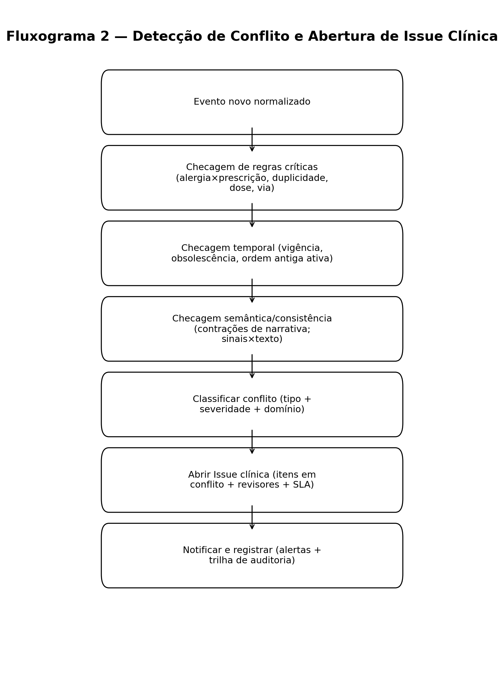
2 - Problema central e motivação
Na assistência real, o prontuário é um “monorepo” com commits de múltiplos
autores, incluindo profissionais da saúde, fornecidos pelos dispositivos médicos
e aqueles originários fora do ambiente hospitalar (wearables, família telemonitoramento).
Quando modelos de IA passam a consumir e retroalimentar esse sistema, a qualidade e a
consistência dos dados tornam-se determinantes para a segurança do paciente e para a
confiabilidade das decisões automatizadas. Sem padrões e governança, surgem conflitos.
Conflito, neste contexto, não é sinônimo de 'erro'. Muitas divergências refletem a realidade
dinâmica do cuidado tais como:
- momentos diferentes,
- métodos diferentes de aferição,
- prioridades distintas.
O risco surge quando o prontuário, e, por consequência, a IA trata informações incompatíveis
como se fossem simultaneamente verdadeiras, sem estado, sem contexto e sem trilha
de decisão.
A seguir, descrevem-se as classes de conflito mais relevantes, com exemplos e implicações práticas.
# 2.1 - Conflito semântico
Definição: divergência de significado causada por vocabulário heterogêneo, abreviações locais,
jargões de equipe, uso de texto livre e ausência (ou baixa adesão) a terminologias controladas.
Principais causas:
1. texto livre sem ancoragem a contexto (tempo, método, ambiente)
2. sinônimos, abreviações e 'dialetos' institucionais
3. terminologias distintas entre profissões e especialidades
4. falta de mapeamento para códigos clínicos/ontologias (quando aplicável)
Exemplos clínicos:
1. “Dispneia importante” vs “Sem dispneia” em horários e contextos diferentes
(repouso vs esforço).
2. “Dor torácica” descrita como queimação epigástrica em nota de outra equipe.
3. “Alergia” registrada como evento adverso não alérgico (náusea) ou intolerância alimentar.
